QJB22/12-620/3-480S厌氧区水下搅拌机技术说明

厌氧区潜水搅拌机结构性能:
厌氧区潜水搅拌机由潜水电机、搅拌叶轮、密封机构、减速机构、安装系统、电控设备等部分构成。
总体要求如下:
1、潜水搅拌机安装轴承罩、主轴和搅拌桨叶。如采用水平搅拌器,需确保密封。
2、接触被搅拌污泥混合液的搅拌器部件的材质,适用于污泥混合液的特性,而且能耐磨损和腐蚀。潜水搅拌机可创建水流,加强搅拌功能,防止污泥沉淀及产生死角。
3、每台潜水搅拌机及其附属设备的布置便于操作、维修和拆卸,而且不中断装置的运行。
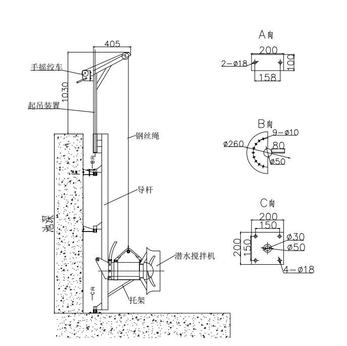
4、导轨系统可自由调整搅拌器的提升和下降,并无需排空水池情况下拆卸和安装潜水搅拌机全部的重量受力在一个支架上,支架可承受搅拌器产生的推力。
5、为便于检修搅拌机,需安装提升系统,包括导轨、提升索、水上提升支架和电缆固定件等。潜水搅拌机壳体结构由方便固定提升索的设计或配置,安装搅拌器也不必把池子防空。
6、潜水搅拌机的电机壳体由优质不锈钢制造,壳体厚度足以承受荷载,其表面加工平整光滑。
7、叶轮用不锈钢制造,且经动平衡实验。叶轮与轴中间应装有锁定装置,以防转动时松动,叶片设计需考虑自清洁及免振功能。
8、搅拌器的电机和叶轮采用直联式传动方式,轴由不锈钢制造,轴能承受所有轴向和径向载荷。
9、潜水搅拌机的防护等级为 IP68,绝缘等级为 F,潜水电机可连续运行,每小时可启至少15 次,潜水电机为全铜线圈,使用寿命长。

主要零部件材料:
电机壳体 SS304 不锈钢
主轴 2Cr13
叶桨 SS304 不锈钢
提升系统 SS304 不锈钢
提升钢丝绳 SS304 不锈钢
水下安装系统 SS304 不锈钢
紧固件(螺栓、螺母、垫片) SS304 不锈钢导轨架 SS304 不锈钢

厌氧区潜水搅拌机设计和供货说明:
杜安环保负责潜水搅拌机的设计制造、基础安装设计和供货工作,包括主机、所有附件和零部件、必要的专用工具及全部安装材料(与池底或池壁相关联的各类支架及材料)。卖方负责提供配套土建以及公用工程(水、电、风)接口条件。
施工、安装界面
卖方所供设备应以整体供货为原则,需要安装的设备本体应在安装完成后再整体运至现场,避免增加不必要的现场安装工作;运至现场的设备,由买方负责安装,卖方现场指导安装并保证安装效果,后续因安装问题引起的设备无法正常运转由卖方负责;
用户负责现场土建施工,杜安环保向用户提供系统相关的设备基础、预留预埋等土建条件。
供货清单
卖方按照买方及设计方要求进行设计,提供完整的潜水搅拌机的成套设备,包括主机、所有附件和零部件、必要的专用工具及全部安装材料(与池底或池壁相关联的各类支架及材料)、供货(含两年备品备件)、安装指导、调试指导、质保等。
检验、试验及验收
本条款用于合同执行期间对卖方所提供的设备进行检验、监造和性能验收试验,确保卖方所提供的设备符合本技术协议书规定的有关标准要求。设备的检验与测试,业主和买方的参与并不解除卖方的任何责任。
工厂检验
1)工厂检验是质量控制的一个重要组成部分。卖方严格进行厂内各生产环节的检验和试验。卖方提供的合同设备签发质量证明、检验记录和测试报告,并且作为交货时质量证明文件的组成部分。
2)卖方检验的结果满足本技术范围书的要求,如有不符之处或达不到标准要求,卖方应采取措施处理直到满足买方要求,同时向买方提交不一致报告。卖方发生重大质量问题时及时将情况通知买方,处理方案经买方许可。
3)在检验前 1 周将详细的试验程序提供给买方批准。
4)对设备主要部件进行材料的化学成份分析,并出具报告。
潜水搅拌机性能验收试验:
1)性能验收试验目的为检验合同设备及其附属设备的所有性能是否符合技术性能的要求。
2)性能验收试验的地点为买方现场。
3)性能验收试验
装置安装完成后,卖方协助买方进行试运转,买方进行所有必要的试验来证实设备情况良好,且符合本技术协议要求。
质量保证
杜安环保对提供的文件及图纸负责,若有错误项或漏项(如缺失预埋件或安装孔洞、预埋件或孔洞过小),在施工或维修时产生的费用由卖方负责。
杜安环保生产的潜水搅拌机整机牢固、质量负责,材质符合规定的标准规范、运行性能满足技术要求。
3)提供的设备性能满足以下基本要求,也可以提出超出或高于以下要求的性能保证并予以特殊说明:
(1)外形整齐美观,设备是全新的、未使用的,并在各个方面符合本协议书规定的质量、规格和性能要求。
(2)保证设备经过正确安装、合理操作和维护保养,在设备寿命期内运转良好。
(3)保证设备各构件的机械性能,并能满足本设备长周期稳定运行。
4)其它要求:
(1)随机资料(每台设备六份,一正五副),包括但不限于:供货装箱清单,技术资料包括全部图纸、设备说明书、附件说明书、合格证、试验报告等。








